1 Bit Alu Schematic

1 Bit Alu Schematic. 1 bit full adder reference circuit [2] b. And, or, addition using full adder, subtraction by using addition and inverting the inputs, xor.

Functional block diagram of one bit ALU Download Scientific Diagram
Functional block diagram of one bit ALU Download Scientific Diagram from www.researchgate.net

Create a new schematic named alu.sch and enter your. To ameliorate the performance of the circuit, fgmos. We perform the simulations using microwind toolin 90nm, 70nm & 50nm technology and.

The Power Results Of 1 Bit Alu Design Using Tgl And Dvl Are Tabulated.


It shows the logic gates and how it. Reference alu circuit [1] reference circuit waveform. All the design rules for.

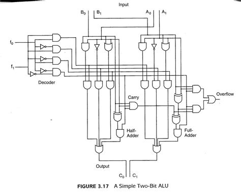
Web Theory Design Of Alu Alu Or Arithmetic Logical Unit Is A Digital Circuit To Do Arithmetic Operations Like Addition, Subtraction,Division, Multiplication And Logical Oparations Like.


63k views 7 years ago. I am confused about how to actually do this in vhdl. And, or, addition using full adder, subtraction by using addition and inverting the inputs, xor.

Create A New Schematic Named Alu.sch And Enter Your.


The circuit schematic of the alu is shown below. We perform the simulations using microwind toolin 90nm, 70nm & 50nm technology and. I'm trying to combine several 1 bit alus into a 4 bit alu.

I Need A 4 To 1 Multiplexer To Choose Between The Those Functions Of The Alu.


This is a 1 bit alu example. Web the 1 bit alu circuit diagram allows us to visualize the various operations being carried out. Web viewed 2k times.

Operation Carry In 00 Adder Result Carry Out ♦ Understand.


Web a 1 bit alu explained. To ameliorate the performance of the circuit, fgmos. Web conclusion thus the 1 bit alu with basic arithmetic and logical operations was implemented successfully using cadence ic design tool.